Código QR
Produtos
Contate-nos

Telefone

Fax
+86-574-87168065

E-mail

Endereço
Área Industrial de Luotuo, distrito de Zhenhai, cidade de Ningbo, China
O tipo universal de soldagem padrão de soldagem flexível do SWC-BH da Raydafon é projetado especificamente para a transferência de torque de serviço pesado em cenários de máquinas pesadas-pense em moinhos, guindastes e equipamentos de mineração que operam sob constante estresse.
Ele vem com um jugo soldado como um recurso de design -chave, e seus diâmetros de rotação abrangem uma faixa prática: de 180 mm até 620 mm. O que o diferencia para empregos difíceis é sua capacidade de lidar com desalinhamentos angulares de até 15 graus, além de levar cargas de torque até 1250 kN · m - tanto críticas para manter as operações constantes, mesmo em condições de trabalho severas.
A qualidade da construção está focada na durabilidade: o acoplamento usa aço de 35crmo de alta resistência para resistência de longa duração, combinada com rolamentos de agulha de precisão para garantir um desempenho suave e confiável ao longo do tempo. Isso o torna uma escolha preferida para duas necessidades principais: acoplamentos universais adaptados para máquinas pesadas e acoplamentos universais soldados adequados para aplicações de nível industrial.
A Raydafon fabrica esse acoplamento na China, e toda a produção segue os padrões ISO 9001 para garantir uma qualidade consistente. Além disso, oferece opções personalizadas para atender aos requisitos específicos - todos os preços que permanecem competitivos para as empresas que procuram confiabilidade e valor.
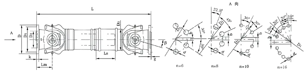
| Não. | Diâmetro da girração d mm | Torque nominal Tn KN · m | Eixos dobram o ângulo β (°) | Torque cansado Tf KN · m | Quantidade flexível LS MM | Tamanho (mm) | Inércia rotativa kg.m2 | Peso (kg) | |||||||||||
| Lmin | D1 (JS11) | D2 (H7) | D3 | LM | n-d | k | t | b (h9) | g | Lmin | Aumentar 100mm | Lmin | Aumentar 100mm | ||||||
| SWC58BH | 58 | 0.15 | 0.075 | ≤22 | 35 | 325 | 47 | 30 | 38 | 35 | 4-5 | 3.5 | 1.5 | - | - | - | - | 2.2 | - |
| SWC65BH | 65 | 0.25 | 0.125 | ≤22 | 40 | 360 | 52 | 35 | 42 | 46 | 4-6 | 4.5 | 1.7 | - | - | - | - | 3 | - |
| SWC75BH | 75 | 0.5 | 0.25 | ≤22 | 40 | 395 | 62 | 42 | 50 | 58 | 6-6 | 5.5 | 2 | - | - | - | - | 5 | - |
| SWC90BH | 90 | 1 | 0.5 | ≤22 | 45 | 435 | 74.5 | 47 | 54 | 58 | 4-8 | 6 | 2.5 | - | - | - | - | 6.6 | - |
| SWC100BH | 100 | 1.5 | 0.75 | ≤25 | 55 | 390 | 84 | 57 | 60 | 58 | 6-9 | 7 | 2.5 | - | - | 0.0044 | 0.00019 | 6.1 | 0.35 |
| SWC120BH | 120 | 2.5 | 1.25 | ≤25 | 80 | 485 | 102 | 75 | 70 | 68 | 8-11 | 8 | 2.5 | - | - | 0.0109 | 0.00044 | 10.8 | 0.55 |
| SWC150BH | 150 | 5 | 2.5 | ≤25 | 80 | 590 | 13 | 90 | 89 | 80 | 8-13 | 10 | 3 | - | - | 0.0423 | 0.00157 | 24.5 | 0.85 |
| SWC160BH | 160 | 10 | 5 | ≤25 | 80 | 660 | 137 | 100 | 95 | 110 | 8-17 | 15 | 3 | 20 | 12 | 0.145 | 0.006 | 68 | 1.72 |
| SWC180BH | 180 | 20 | 10 | ≤25 | 100 | 810 | 155 | 105 | 114 | 130 | 8-17 | 17 | 5 | 24 | 14 | 0.175 | 0.007 | 70 | 2.8 |
| SWC200BH | 200 | 32 | 16 | ≤15 | 110 | 860 | 170 | 120 | 127 | 135 | 8-17 | 19 | 5 | 28 | 16 | 0.31 | 0.013 | 86 | 3.6 |
| SWC225BH | 225 | 40 | 20 | ≤15 | 140 | 920 | 196 | 135 | 152 | 120 | 8-17 | 20 | 5 | 32 | 9 | 0.538 | 0.0234 | 122 | 4.9 |
| SWC250BH | 250 | 63 | 31.5 | ≤15 | 140 | 1035 | 218 | 150 | 168 | 140 | 8-19 | 25 | 6 | 40 | 12.5 | 0.966 | 0.0277 | 172 | 5.3 |
| SWC285BH | 285 | 90 | 45 | ≤15 | 140 | 1190 | 245 | 170 | 194 | 160 | 8-21 | 27 | 7 | 40 | 15 | 2.011 | 0.051 | 263 | 6.3 |
| SWC315BH | 315 | 125 | 63 | ≤15 | 140 | 1315 | 280 | 185 | 219 | 180 | 10-23 | 32 | 8 | 40 | 15 | 3.605 | 0.0795 | 382 | 8 |
| SWC350BH | 350 | 180 | 90 | ≤15 | 150 | 1410 | 310 | 210 | 267 | 194 | 10-23 | 35 | 8 | 50 | 16 | 7.053 | 0.2219 | 582 | 15 |
| SWC390BH | 390 | 250 | 125 | ≤15 | 170 | 1590 | 345 | 235 | 267 | 215 | 10-25 | 40 | 8 | 70 | 18 | 12.164 | 0.2219 | 738 | 15 |
| SWC440BH | 440 | 355 | 180 | ≤15 | 190 | 1875 | 390 | 255 | 325 | 260 | 16-28 | 42 | 10 | 80 | 20 | 21.42 | 0.4744 | 1190 | 21.7 |
| SWC490BH | 490 | 500 | 250 | ≤15 | 190 | 1985 | 435 | 275 | 325 | 270 | 16-31 | 47 | 12 | 90 | 22.5 | 32.86 | 0.4744 | 1452 | 21.7 |
| SWC550BH | 550 | 710 | 355 | ≤15 | 240 | 2300 | 492 | 320 | 426 | 305 | 16-31 | 50 | 12 | 100 | 22.5 | 68.92 | 1.357 | 2380 | 34 |
Quando falamos sobre equipamentos industriais pesados que mantêm a energia fluindo de maneira confiável, o acoplamento da articulação universal do SWC (geralmente chamado de acoplamento da junta universal do eixo SWC Cardan) é uma parte não negociável. Você o achará trabalhando duro em configurações como moinhos de rolagem, máquinas de elevação e todos os tipos de sistemas de máquinas pesadas difíceis - lugares onde cortar cantos na transmissão de energia não é uma opção.
Seu trabalho principal? Conecte dois eixos de transmissão que não se alinham perfeitamente (eixos não coincidentes) e verifique se a energia continua se movendo sem problemas, mesmo quando as condições de operação ficarem difíceis. Sem gagueiros, sem interrupções - apenas transferência constante quando mais importa.
Vamos dividir suas principais especificações que possibilitam esse desempenho:
Diâmetro da giração: varia de φ58 a φ620, cobrindo uma ampla extensão de necessidades industriais.
Onde se destaca mais? Pense em operações de moinho de rolagem-onde atua como um acoplamento conjunto universal de serviço pesado confiável que se mantém sob a intensa pressão da fábrica. Ou no equipamento de levantamento e manuseio de materiais, onde, como um acoplamento durável do eixo universal da articulação SWC, mantém as coisas estáveis, mesmo quando as cargas ficam graves. Não funciona apenas - mantém as operações estáveis quando as coisas ficam difíceis.
O acoplamento conjunto universal do SWC não é apenas jogado juntos - é projetado desde o início para permanecer difícil em ambientes industriais, com recursos que aumentam o desempenho e a longevidade. Vamos dar uma olhada no que faz sua estrutura funcionar tão bem.
Design inteligente e seguro
Na sua essência, há um design integrado da cabeça do garfo - nenhuma peças separadas mantidas juntas por parafusos aqui. Isso importa porque reduz o risco de os parafusos se soltarem ou se soltarem, uma dor de cabeça comum com outras configurações. De fato, esse design aumenta a força estrutural em 30% a 50% em comparação com os estilos mais antigos. Para quem confia em um acoplamento conjunto universal de máquinas pesadas, isso significa menos avarias quando as coisas ficam intensas. É o tipo de acoplamento conjunto universal robusto que continua funcionando sem problemas, mesmo em ambientes de alto estresse, onde outras peças podem falhar.
Construído para carregar a carga
Este não é o seu conector médio. O acoplamento da articulação universal de serviço pesado da SWC é feito para lidar com peso sério-pense em equipamentos de mineração, máquinas de construção e outros rebatedores pesados. Quando você precisa de um acoplamento junto universal robusto que não recue sob pressão, esse é o que oferece. Não se trata apenas de tamanho; Trata -se de materiais e engenharia trabalhando juntos para assumir o peso sem se desgastar rapidamente.
Move o poder com eficiência
Você já se perguntou onde toda a energia vai em grandes configurações industriais? Não é muito desperdiçado aqui. Esse acoplamento de articulação universal de alto torque atinge níveis de eficiência de até 98,6%, o que significa menos energia perdida como calor ou atrito. Para operações que desejam reduzir custos, essa é uma grande vitória. É o tipo de acoplamento conjunto universal eficiente que faz a diferença nos grandes sistemas de transmissão de energia, atuando como um acoplamento conjunto universal confiável que mantém as contas de energia sob controle.
Quieto e firme
Máquinas altas podem ser um problema real, especialmente em espaços onde o ruído é importante. O acoplamento da articulação universal do SWC mantém as coisas calmas, com níveis de ruído geralmente entre 30-40 dB (a)-mais que uma conversa normal. Isso o torna um ótimo acoplamento conjunto universal de baixo ruído para ambientes em que manter o som baixo é fundamental, sem sacrificar a confiabilidade necessária. Seja em um piso de fábrica ou em um workshop de precisão, esse acoplamento conjunto universal de corrida suave faz o trabalho sem a raquete.
O acoplamento universal SWC-BH Standard Solding Type não é apenas mais uma parte-é um cavalo de trabalho construído para mover a energia com eficiência, mesmo quando as máquinas estão sob estresse pesado. Vamos quebrar onde realmente brilha.
Tome máquinas pesadas e equipamentos de construção, por exemplo. Quando você está lidando com cargas extremas e vibrações constantes - pense em escavadeiras ou escavadeiras - esse acoplamento não recua. Seu design soldado acrescenta resistência extra, por isso supera as opções mais frágeis que podem quebrar ou se desgastar de todo esse movimento. É o tipo de acoplamento universal de alto torque que mantém a energia fluindo, por mais difícil que o trabalho fique.
Nas fábricas, especialmente em linhas de transportadores e sistemas de montagem, questões de precisão. Esse acoplamento universal de nível industrial lida com ângulos e mudanças no alinhamento sem pular uma batida, mantendo as velocidades constantes. Isso significa menos tempo corrigindo falhas e mais tempo mantendo a produção nos trilhos. Os engenheiros gostam porque se adapta aos desalinhamentos axiais, radiais e angulares - turnos pequenos que podem desligar outras partes.
No automóvel e no transporte, os eixos de acionamento precisam de algo confiável para passar a energia sem problemas. O SWC-BH se encaixa diretamente, seja em caminhões, trens ou outros veículos. Seu design de soldagem flexível facilita a entrada nas configurações existentes, lidando com altas velocidades sem cortar cantos na segurança. É o acoplamento universal do eixo de acionamento para manter as coisas em movimento.
O trabalho marinho e offshore é difícil de equipamentos - água de sal, clima severo, cargas imprevisíveis. Esse acoplamento também se mantém aqui. Como um acoplamento universal marinho resistente à corrosão, ele se destaca ao spray de sal e ao mar áspero, mantendo os motores de navios e as máquinas auxiliares funcionando de forma consistente. Sem falhas relacionadas à ferrugem, sem desligamentos inesperados.
Configurações de energia renovável, como turbinas eólicas e rastreadores solares, precisam de peças que não desperdiçam energia. O SWC-BH aumenta como um acoplamento universal de energia renovável, transferindo energia com quase nenhuma reação. Ele atende aos padrões globais de qualidade, portanto, seja em um parque eólico na Europa ou em uma planta solar na Ásia, ela oferece.
Na Raydafon, não apenas vendemos esses acoplamentos - nós os adaptamos. Precisa de um tamanho, material ou capacidade de torque específico? Nossa equipe ajusta o SWC-BH para atender às suas necessidades exatas. Entre em contato e ajudaremos você a tirar o máximo proveito do seu sistema.
Quando você está procurando alguém para confiar com componentes mecânicos-especialmente coisas como o SWC-BH Standard Flex Self Solding Type Coupling-Raydafon não é apenas mais uma opção. Somos um fabricante que vive e respira a qualidade, e isso mostra em todas as partes que fazemos.
Primeiro, a qualidade não é uma reflexão tardia para nós. Utilizamos técnicas de engenharia de primeira linha e colocamos todos os acoplamentos universais da articulação-seja um torque alto para máquinas pesadas ou um modelo de nível industrial para configurações de fábrica-através de verificações estritas. Cada parte atende aos padrões ISO 9001 e os testamos com força: cargas extremas, condições aproximadas, qualquer que sua indústria jogue nela. O objetivo? Sem falhas inesperadas, menos risco para suas operações e um acoplamento que mantém seus sistemas funcionando sem problemas.
Depois, há a personalização. Vamos ser reais - não dois empregos são iguais. Talvez você precise de um acoplamento universal do eixo de acionamento com dimensões específicas ou um acoplamento universal de propulsão marinha feita de material resistente à corrosão, ou mesmo um acoplamento universal de energia renovável ajustado para o torque certo. Não fazemos você se encaixar em uma parte de "tamanho único". Diga -nos o que você precisa e o adaptaremos para entrar na sua configuração existente - seja em sistemas automotivos, marinhos ou solares/eólicos.
E também temos esse custo. Você não deve escolher entre um bom acoplamento e um preço justo. Otimizamos nossa cadeia de suprimentos e escalamos nossa produção para que possamos oferecer taxas competitivas em peças especializadas-como o acoplamento universal de propulsão marinha ou um modelo industrial de alto torque-sem cortar a qualidade. Trata -se de dar valor a você que dura, não apenas uma parte barata que falha rapidamente.
Nossa equipe também não desaparece quando você atinge o "pedido". Desde a primeira chamada-quando você está tentando descobrir qual acoplamento conjunto universal funciona melhor para seu equipamento de energia renovável ou linha de fábrica-para pós-venda, se você tiver dúvidas, estamos aqui. Temos anos de know-how do setor, para que possamos guiá-lo para a escolha certa, ajudá-lo a evitar o tempo de inatividade e garantir que seu acoplamento faça exatamente o que você precisa.
Na Raydafon, não estamos apenas vendendo peças - estamos construindo parcerias. Queremos ser a equipe em que você confia para manter suas operações avançando, com soluções conjuntas universais que funcionam tão duro quanto você. Se você tiver necessidades específicas, chegue a nossos especialistas hoje - vamos falar sobre como podemos ajudar.
Endereço
Área Industrial de Luotuo, distrito de Zhenhai, cidade de Ningbo, China
Tel


+86-574-87168065


Área Industrial de Luotuo, distrito de Zhenhai, cidade de Ningbo, China
Copyright © Raydafon Technology Group Co., limitou todos os direitos reservados.
Links | Sitemap | RSS | XML | política de Privacidade |
